
Кровля из асбестоцементных плиток После подготовки кровельного материала, осмотра и сортировки асбестоцементных плиток, а также заготовки и установки по технологии стальных элементов кровли (картин карнизных свесов и надстенных желобов, полос разжелобков и ендов, воротника дымовой трубы и др.) приступают к укладке плиток. Укладывают плитки на скатах снизу вверх (от карниза к коньку) и справа налево. Допускается укладка и в обратном направлении: слева направо. Кровельные работы ведутся «русским способом»: плитки выкладывают одновременно в 2-3 рядах по диагонали внахлестку (рис.1). В карнизном ряду кладут краевые плитки 4, которые крепят двумя гвоздями 7. Далее все четные ряды (в том числе второй) начинают с укладки полуплиток 6, а все нечетные — целых плиток. Полуплитки крепят гвоздями, а целые плитки — двумя гвоздями и противоветровой кнопкой 8. Кнопку устанавливают на нижележащую плитку и одновременно ее головку заводят под обрезанные углы рядовых плиток так, чтобы стержень кнопки оказался между ними. Сверху место стыка углов нижележащего ряда накрывается нижним углом плитки верхнего ряда, в котором имеется отверстие для стержня кнопки. Легким нажимом молотка стержень пригибается к плоскости. Краевые и фронтонные плитки крепятся также при помощи противоветровых скоб 9 (что очень важно в районах с сильными ветрами). Плитки нельзя приколачивать гвоздями наглухо — в них могут появиться трещины. Вместе с тем слабое крепление позволит кровле вибрировать. Головки гвоздей должны только соприкасаться с поверхностью плиток. Для облегчения кровельных работ до начала покрытия скатов асбестоцементными плитками желательно нанести разметочную сетку. Ширина каждой ячейки сетки — 23,5 см, а высота — 22,5 см.
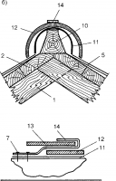
Кровельные работы лучше выполнять сидя на укрепленной на обрешетке скамейке. Необходимо также иметь возок и ящик с крепежными деталями. Карнизы крыши из асбестоцементных плиток покрывают стальными картинами карнизных свесов, а разжелобки — заранее подготовленными полосами из оцинкованной стали. Дымовую трубу обшивают стальным воротником. Места примыкания кровли к вертикальным плоскостям закрывают фартуками из кровельной стали, нижние концы которых на 15 см перекрывают кровельные асбестоцементные плитки. Эти концы крепятся противоветровыми кнопками и шурупами с полукруглыми головками или одними кнопками. Головки шурупов могут иметь стальные и резиновые шайбы, смазанные суриковой замазкой. Шурупы вкручиваются до того момента, пока из-под шайбы не начнет выступать замазка. Замазку необходимо сразу пришпаклевать. Для покрытия конька и ребер (рис.2) на вершине стропил 1 крепится коньковый брус 10, а по нему прокладывается рубероидная лента 11. По коньковому брусу укладывают желобчатые асбестоцементные коньки 12, имеющие с одной стороны расширенный конец 13, а с другой — суженный. Первый конек укладывается расширенным концом к фронтонному свесу или внизу ребра и закрепляется противоветровой скобой. Узкий конец крепится скобой 14 и гвоздями 7. На узкий конец первого конька до упора надевается расширенным концом второй конек. Нахлест при этом должен быть равен 70 мм. Все узкие раструбы коньков крепятся также, как первый конек.


Рис.1. Покрытие кровли асбестоцементной плиткой а — покрытие ската 1 — стропильная нога; 2 — обрешетка; 3 — выравнивающая рейка; 4 — краевая плитка; 5 — цельная плитка; 6 — половинчатая плитка; 7 — гвоздь; 8 — противоветровая кнопка; 9 — противоветровая скоба
Рис.2. Покрытие кровли асбестоцементной плиткойб — покрытие конька1 — стропильная нога; 2 — обрешетка; 5 — цельная плитка; 7 — гвоздь; 10 — коньковый брус; 11 — рубероидная лента; 12 — желобчатый конек; 13 — накрывающий конец желобчатого конька; 14 — скоба








